J-0
00m
00j
00h
00min
00s

Version interactive avec LaTeX compilé

E3A Physique Chimie MP 2012

Notez ce sujet en cliquant sur l'étoile
0.0(0 votes)
Logo e3a
2025_09_04_c14cb57bf18c0abadcc0g

CONCOURS ARTS ET MÉTIERS ParisTech - ESTP - ARCHIMÈDE

Épreuve de Physique - Chimie MP

Durée 4 h

Si, au cours de l'épreuve, un candidat repère ce qui lui semble être une erreur d'énoncé, d'une part il le signale au chef de salle, d'autre part il le signale sur sa copie et poursuit sa composition en indiquant les raisons des initiatives qu'il est amené à prendre.

L'usage de calculatrices est autorisé.

AVERTISSEMENT

La présentation, la lisibilité, l'orthographe, la qualité de la rédaction, la clarté et la précision des raisonnements entreront pour une part importante dans l'appréciation des copies. En particulier, les résultats non encadrés et non justifiés ne seront pas pris en compte.
Le problème est constitué de trois parties totalement indépendantes : la première s'intéresse à l'étude d'une caméra de contrôle des plaques d'immatriculation, tandis que la seconde traite des boucles inductives de détection de véhicules incluses dans la chaussée.
La dernière partie est consacrée à la production industrielle de soufre selon le procédé CLAUS.

Remarques préliminaires importantes : il est rappelé aux candidat(e)s que

  • les explications des phénomènes étudiés interviennent dans la notation au même titre que les développements analytiques et les applications numériques ;
  • tout au long de l'énoncé, les paragraphes en italique ont pour objet d'aider à la compréhension du problème ;
  • tout résultat fourni dans l'énoncé peut être admis et utilisé par la suite, même s'il n'a pas été démontré par le(la) candidat(e) ;
  • les données numériques relatives à la partie «Chimie» sont répertoriées à la fin de la troisième partie ;
  • le document-réponse (recto-verso) pour les parties «Optique» et «Chimie» devra être complété puis remis avec la copie.

PREMIERE PARTIE CAMERA DE CONTROLE DES PLAQUES D'IMMATRICULATION

Pour diminuer le nombre de véhicules circulant dans le centre ville et réduire ainsi les embouteillages, la pollution et le bruit qu'ils engendrent, plusieurs grandes agglomérations (Londres, Singapour, Stockholm) utilisent un système de péage urbain.
Différentes technologies sont mises en oeuvre pour détecter les véhicules entrant dans la zone de circulation taxée. Le système londonien, appelé London Congestion Charge (mis en place en 2003) utilise un réseau de 500 caméras installées à chaque point permettant d'entrer ou de sortir de la zone payante. Les images obtenues sont ensuite analysées par un algorithme LAPI (Lecture Automatique des Plaques d'Immatriculation) qui génère une liste des véhicules ayant circulé dans le centre ville, ce qui déclenche la facturation d'une taxe.
Ces systèmes doivent être robustes, peu coûteux, ne nécessiter aucun réglage et être fonctionnels dans des conditions de luminosité très variées. Le modèle retenu (ci-contre) comporte deux caméras identiques: l'une enregistrant dans le domaine visible et l'autre dans le proche infrarouge grâce un filtre stoppant les radiations visibles. Un ensemble de diodes électroluminescentes (DEL) émettant des flashes de longueur d'onde respective 810 nm et 950 nm entoure les caméras et permet d'illuminer la

plaque d'immatriculation.

Les spécifications du constructeur sont les suivantes:

Le capteur CCD (Charge Coupled Device) de ces caméras est un rectangle de diagonale et est découpé en pixels (largeur x hauteur) ; les pixels sont des carrés tous identiques, de côté a.
Pour réduire le coût, les risques de panne et les réglages lors de l'installation, ces caméras ont une distance focale image fixe. Le constructeur propose différents modèles destinés à enregistrer les plaques d'immatriculation à une distance de mesure déterminée .
Le tableau suivant résume les modèles disponibles :
Tableau 1
Modèle de caméra 1 2 3 4 5
Focale
Distance de mesure L

La norme britannique concernant les plaques d'immatriculation est la suivante :

Les plaques doivent mesurer 110 mm de hauteur et 520 mm de largeur. Les caractères doivent avoir une hauteur de 79 mm et une largeur de 50 mm , l'épaisseur du trait étant fixée à 14 mm .

A / DIMENSIONNEMENT DES CAMÉRAS

Les caméras sont identiques et constituées d'une lentille d'objectif de distance focale image qui forme sur le capteur CCD une image de la plaque d'immatriculation.
La fiqure 1 illustre cette configuration (les échelles relatives ne sont pas respectées).
A1. Donner la condition que doivent vérifier (distance focale image de la lentille) et PC (distance entre l'objet réel et son image réelle) pour que cette opération soit possible. Comment s'appelle la réalisation de l'image réelle d'un objet réel ?
A2. Exprimer la distance en fonction de et .
Justifier pourquoi la lentille doit nécessairement être convergente.
A3. Ecrire le grandissement en fonction de et .
A4. En tenant compte des valeurs numériques du Tableau 1, simplifier l'expression de obtenue à la question . Commenter.
A5. Simplifier de même l'expression de . Calculer la valeur numérique du grandissement pour ces cinq modèles de caméras (répondre avec 3 chiffres significatifs). Commenter.
Pour les questions suivantes, sera pris égal à la moyenne de ces cinq valeurs.
A6. Déterminer la largeur et la hauteur du capteur CCD en millimètres (données page 2). En déduire la valeur numérique de la longueur a du côté d'un pixel de ce capteur.
A7. En déduire les dimensions du champ de vue dans le plan d'observation.
Est-il suffisant d'installer une caméra par rue permettant d'accéder au centre ville?
A8. Déterminer la taille de l'image d'un des caractères de la plaque d'immatriculation sur le capteur CCD en micromètres, puis en pixels.
A9. Le dimensionnement de la caméra est imposé par une valeur optimale de qui repose sur un compromis entre deux contraintes antagonistes : préciser lesquelles.
A10. Quels problèmes se poseraient si le dispositif ne filmait que dans le domaine visible ? Quels sont les avantages à filmer une seconde image en infrarouge ?
Les lentilles de ces caméras ont un diamètre . Elles se comportent donc comme une pupille circulaire qui diffracte la lumière. L'image d'une source ponctuelle n'est donc pas un point mais présente une certaine étendue spatiale due à la diffraction.
A11. Calculer, pour la caméra de modèle 1 , l'ordre de grandeur de la largeur de la tache de diffraction de l'image d'un point sur le capteur CCD pour le rayonnement infrarouge utilisé. (II n'est pas demandé de calcul complet, ni de formulation exacte). Comparer ce phénomène à la pixellisation de l'image. Limite-t-il la résolution?

B / PROFONDEUR DE CHAMP

Bien que ces caméras ne disposent pas de dispositif de mise au point (leur distance focale est fixe), il est néanmoins possible de visualiser des plaques d'immatriculation qui ne sont pas rigoureusement situées à la distance L spécifiée par le constructeur (cf. Tableau 1).
Le but de cette partie est de déterminer la profondeur de champ Z, c'est-à-dire la longueur de la zone de l'espace où l'objet peut-être placé afin que la caméra en fournisse une image considérée comme nette.
Le document-réponse «Optique», à rendre avec la copie, comporte différentes figures sur lesquelles un objet ponctuel est situé sur l'axe optique (les constructions ne sont pas à l'échelle et ont pour seul but d'illustrer le phénomène). Le diamètre de la lentille est .
Sur la première figure, l'objet est situé en , à la distance spécifiée par le constructeur.
B1. Compléter cette figure en représentant le trajet des deux rayons lumineux issus de et frappant la lentille en deux points extérieurs diamétralement opposés. Représenter la position de l'image de ce point par la lentille d'objectif. (Un soin particulier est attendu dans la réalisation de la construction dont la démarche doit être rigoureusement justifiée.)
Le capteur CCD est positionné dans le plan perpendiculaire à l'axe optique et passant par . L'objet ponctuel est maintenant placé à une distance de .
B2. Compléter la seconde figure du document-réponse en y représentant:
a) le plan du capteur CCD (en reportant le point de la construction de la question B1)
b) le trajet des deux rayons lumineux issus de et frappant la lentille en deux points extérieurs diamétralement opposés. Son image est notée .
Ce faisceau ne forme pas une image ponctuelle sur le capteur mais un disque de diamètre qui doit être inférieur à la taille a d'un pixel pour que l'image soit nette: .
B3. Montrer que le diamètre de la tache image, noté , peut s'exprimer sous la forme :
, où est un facteur à expliciter.
B4. Compléter la troisième figure, dans le cas où ( est une distance).
Le diamètre de la tache image peut alors s'exprimer sous la forme .
B5. Simplifier les expressions de et sachant que .
B6. Exprimer, en fonction de et , les distances et telles que la tache image sur le capteur ait un diamètre égal à la taille d'un pixel.
B7. Calculer les valeurs numériques des distances et pour la caméra 3 , en prenant .
B8. Déterminer l'expression de la profondeur de champ en fonction de , , a et .
B9. Simplifier cette expression en tenant compte des valeurs numériques de l'énoncé.
B10. Commenter le choix d'une lentille de petit diamètre pour réaliser cette caméra.

DEUXIEME PARTIE DETECTION DE VEHICULES PAR BOUCLE INDUCTIVE

Une autre méthode de détection des véhicules (utilisée pour l'ouverture de barrières automatiques ou le déclenchement de feux tricolores) utilise une boucle métallique rectangulaire enterrée dans la chaussée.
Lorsque le châssis d'un véhicule en acier est placé au-dessus, l'inductance de cette boucle se trouve modifiée.
La boucle est composée de spires rectangulaires identiques de largeur et de longueur bobinées en série (figure 2). Celles-ci sont réalisées avec un fil de cuivre de section . L'objectif de cette partie est de déterminer l'inductance de cette boucle.
Figure 2

C / INDUCTANCE DE LA BOUCLE

C1. Donner la relation entre l'inductance d'un circuit, l'intensité I qui le traverse et le flux propre à travers sa surface.
Considérons un fil infini d'axe Oz et de rayon e parcouru par un courant d'intensité I dans le sens z croissant (figure 3). Le vecteur densité de courant, noté , est supposé uniforme dans une section du fil. En coordonnées cylindriques, tout point est repéré par ses coordonnées ( ) dans la base orthonormée ( ).
C2. Exprimer en fonction de I , e et .
C3. Etablir, par des arguments de symétrie, la direction du champ magnétique créé en un point . De quelle(s) coordonnée(s) la norme de dépendelle ? En déduire la forme générale de .
C4. Déterminer, par un raisonnement judicieux, les expressions de en un point situé à l'extérieur du fil ( ), puis en un point situé à l'intérieur du fil ( ).
C5. Représenter l'allure de la norme de en fonction de , en précisant littéralement les coordonnées du (des) point(s) particulier(s).
C6. Exprimer, en fonction de et e , le flux du champ magnétique créé par ce fil à travers la surface orientée grise définie sur la figure 3.
Pour calculer l'inductance propre d'une spire, les effets de bords sont négligés. Dans un souci de simplification, le flux produit par chaque côté de la spire sera assimilé au flux , calculé à la question C6.
C7. Déduire des réponses précédentes, l'expression de l'inductance d'une spire en fonction de et e (considérer que la perméabilité magnétique du bitume vaut ).
C8. Calculer la valeur numérique de , sachant que .
Les spécifications techniques d'un constructeur de tels systèmes de détection précisent que l'inductance totale de la boucle doit être comprise entre 70 et . Pour des spires ayant les dimensions prises dans ce problème, le constructeur recommande d'en câbler 3 à 5 en série.
C9. Exprimer l'inductance d'une boucle composée de spires en fonction de et .
C10. Calculer les valeurs minimale et maximale de n .

D / DÉTECTION D'UN VÉHICULE

Lorsqu'un véhicule se positionne à une distance au-dessus de la boucle, la face inférieure de son châssis est le siège de courants induits par le champ magnétique créé par la boucle. Ces courants induits produisent à leur tour un champ magnétique induit ; il est possible de montrer que celui-ci est identique à celui produit par un circuit symétrique de la boucle par rapport au plan du châssis (figure 4).
Considérons, dans un premier temps, une des spires enterrées et sa spire « miroir ».
Figure 4
La carte du champ magnétique induit dans un plan de coupe perpendiculaire au plan de la route et au grand côté (D) de la spire est représentée sur la figure 5.
Ce champ magnétique , génère à son tour un flux à travers la spire enterrée et modifie par conséquent son inductance d'une quantité .
D1. Dans quel sens faut-il orienter la spire «miroir» pour que cette modélisation soit conforme à la loi de Lenz?
Répondre en reproduisant sur votre copie les spires et l'allure de la carte de champ puis compléter l'orientation de la spire miroir et des lignes de champ.
Dans toute la suite, afin de simplifier les calculs, la spire est assimilée à deux fils infinis parallèles ( ). Les effets de bords seront donc négligés et seules les contributions des deux côtés de longueur seront prises en compte. Le champ magnétique qu’ils créent sera assimilé à celui de deux fils infinis parallèles espacés de .
D2. Calculer les valeurs numériques de la norme de en , et , lorsque , en utilisant la figure 5 et son échelle, pour déterminer les distances nécessaires.
D3. Quelle propriété vérifie le flux du champ magnétique le long d'un tube de champ ? La démontrer soigneusement, à l'aide d'un schéma explicatif.
D4. En déduire une estimation de la valeur numérique du flux créé par à travers la spire enterrée.
D5. Déterminer la variation relative de l'inductance d'une spire. En déduire la variation relative de l'inductance de l'ensemble de la boucle lors du passage d'un véhicule. Commenter l'ordre de grandeur des résultats obtenus.
Afin de détecter cette variation d'inductance, la boucle inductive est branchée en parallèle avec un condensateur de capacité C (figure 6). Celle-ci ne se comporte pas comme une inductance pure et présente une résistance due à la résistivité du fil qui la constitue.
Figure 6
Données: et .
D6. Rappeler l'expression de la résistance d'un barreau conducteur de longueur et de section s , constitué d'un métal de conductivité .
En déduire la valeur numérique de la résistance de la boucle ( ).
Dans toute la suite du problème, la boucle est modélisée par une bobine idéale d'inductance (en l'absence de véhicule) en série avec une résistance r. Le dispositif décrit sur la figure 6 peut donc être modélisé par le circuit de la figure 7, ci-contre :
D7. Etablir l'équation différentielle vérifiée par la tension u.
Figure 7
En déduire le facteur de qualité et la fréquence propre du circuit.
D8. Le facteur de qualité peut-il être amélioré en augmentant le nombre de spires ?
Cette fréquence est ensuite mesurée par un fréquencemètre électronique qui délivre une tension proportionnelle à et permet de déterminer ses variations ; un signal de commande est produit lorsque celles-ci dépassent un seuil fixé.
Le constructeur précise que la valeur de fo doit être comprise entre 10 et 90 kHz et que le seuil de détection de la variation de fréquence peut être réglé entre et .
D9. Calculer la gamme de valeurs dans laquelle la capacité C doit être choisie. Commenter.
D10. Exprimer la variation relative de la fréquence d'oscillation en fonction de celle de l'inductance de la boucle . Lorsqu'un véhicule se place au dessus de la boucle inductive, diminue-t-elle ou augmente-t-elle?
La valeur de calculée en D5 donne-t-elle lieu à une variation de fréquence compatible avec les spécifications du constructeur ? Commenter ce résultat.

TROISIEME PARTIE PRODUCTION DE SOUFRE PAR LE PROCEDE CLAUS

Plus de la moitié du soufre produit dans le monde provient du traitement des gaz naturels et du pétrole. Le soufre est obtenu à l'issue de deux étapes:
  • désulfuration du gaz par absorption à la diéthanolamine des gaz acides et contenus dans le gaz naturel, suivie d'une régénération des solutions d'amines;
  • réaction de CLAUS sur l'hydrogène sulfuré, correspondant globalement à l'oxydation incomplète de selon : [O] ; la valeur de l'indice du soufre dépend de ses variétés allotropiques ( à température élevée, et variant de 6 à 8 à basse température).
La réaction de conversion de en soufre, mise au point en 1883 par F. CLAUS (et largement améliorée depuis) est le résultat de deux réactions successives :
  • combustion du tiers d'hydrogène sulfuré en dioxyde de soufre, à 1500 K, en présence du dioxygène de l'air:
  • réaction (à la même température) des deux tiers de l'hydrogène sulfuré restant et le dioxyde de soufre formé précédemment :

E / CONVERSION DE L'HYDROGENE SULFURE

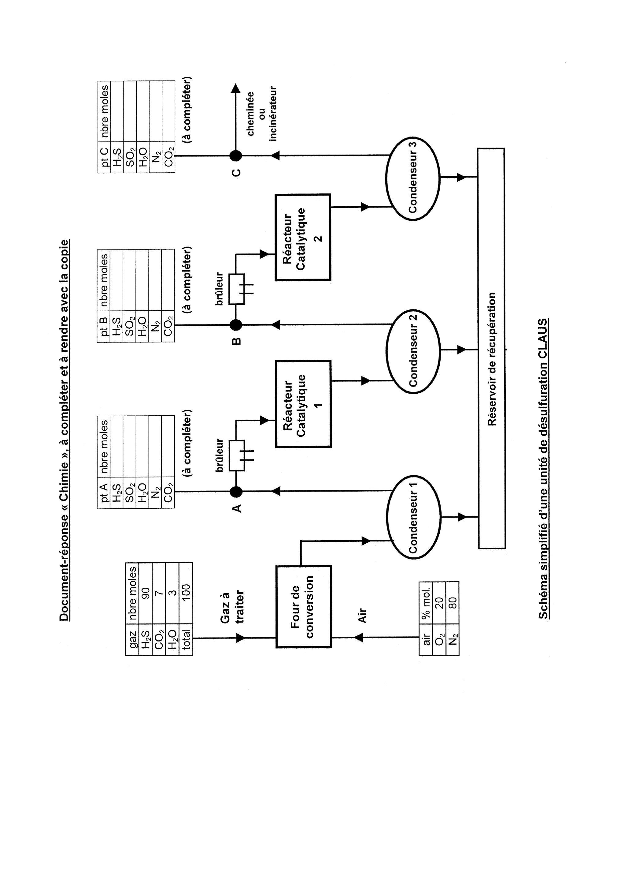
Le gaz à traiter contient, outre l'hydrogène sulfuré, du dioxyde de carbone et de la vapeur d'eau ; sa composition, exprimée en pourcentages molaires, est : de et d' . Pour simplifier, la composition molaire de l'air est : de diazote et de dioxygène. Tous les calculs seront exécutés pour 100 moles du gaz d'alimentation.
Le mélange gazeux est introduit dans les brûleurs du four de conversion (F) comme le montre le schéma de l'annexe (B), en même temps que la quantité d'air nécessaire pour transformer le tiers de selon la réaction [1], sans le moindre excès d'air ; dans la chambre de combustion règnent alors une température de 1500 K et une pression de 1,2 bar.

1 / Etude de la réaction [1]

E1. Calculer, à l'aide des données thermodynamiques fournies en annexe, les enthalpie et entropie standard de la réaction [1] à 1500 K , respectivement notées et .
E2. Quelle est la caractéristique thermodynamique de cette réaction de combustion ? Quelle conséquence d'ordre technique, cette caractéristique induit-elle?
E3. Montrer que la réaction [1] peut être considérée comme totale.
E4. Dresser le bilan des espèces gazeuses à la fin de cette réaction [1] (pour 100 moles de gaz à traiter, sans oublier les autres espèces que celles directement impliquées dans cette réaction).

2 / Etude de la réaction [2]

Dès la formation des premières moles de dioxyde de soufre, la réaction [2] démarre dans le four (mêmes conditions de température et de pression que pour la réaction [1]).
E5. Sachant qu'à 1500 K , les enthalpie et entropie standard de cette réaction valent respectivement et , calculer la valeur de la constante d'équilibre à cette température ; la réaction [2] est-elle totale?
E6. Représenter le tableau d'avancement de la réaction [2], en notant son avancement, compte tenu des 100 moles de gaz naturel initial et du résultat de la question E4.
Exprimer , le nombre total de molécules gazeuses présentes à cet instant dans le four.
E7. En déduire le quotient réactionnel correspondant en fonction des pressions partielles, puis des nombres de moles des différentes espèces, de et de la pression totale régnant dans le four, puis l'exprimer sous la forme suivante :
E8. Trouver valeur minimale de , sachant qu'à l'équilibre, plus de du formé par la combustion [1] est transformé en soufre (travaux de Gamson et Elkins).
La résolution numérique de la relation fournit : .
E9. En déduire les nombres de moles des différentes espèces gazeuses constitutives du mélange à la sortie du four.
A la sortie du four, les gaz sont refroidis jusqu'à 493 K, grâce à un refroidissement à l'eau dans un condenseur tubulaire (C).
E10. Quel est le produit obtenu à la sortie du condenseur 1 dans le réservoir de récupération et sous quelle forme physique ? Calculer le rendement en soufre de l'opération de conversion.
Compléter le document-réponse au point A , point de départ de la conversion catalytique.

F / CONVERSION CATALYTIQUE

La conversion totale de en soufre n'étant pas réalisée par cette première étape, le mélange gazeux est réchauffé dans un brûleur puis envoyé sur une série (deux à trois unités) de réacteurs catalytiques (RC) pour en parfaire la conversion, à une température plus basse ( 530 K ), à l'aide de catalyseurs à base d'oxyde ferrique sur support en carbure de silicium SiC , où se produit la réaction :
au cours de laquelle 13 % du soufre initialement présent dans le gaz de départ est produit. Dans cette réaction, le ratio est toujours maintenu à égal à 2.
F1. Représenter le tableau d'avancement de la réaction [2'], en notant son avancement. Calculer le nombre de moles de soufre produites à la sortie du condenseur 2 ; en déduire les nombres de moles des différentes espèces gazeuses à la sortie du condenseur 2 (les reporter au point B ).
Les gaz issus de RC1 (après passage dans un condenseur) sont réchauffés puis envoyés sur un second réacteur catalytique, RC2 (toujours la réaction [2'], mais à 430 K ) pour laquelle 9 % du soufre initialement présent dans le gaz de départ est produit, toujours avec le même ratio égal à 2 .
F2. Représenter le nouveau tableau d'avancement de la réaction [2'], en notant son avancement.
Calculer le nombre de moles de soufre produites à la sortie du condenseur 3 ; en déduire les nombres de moles des différentes espèces gazeuses à la sortie du condenseur 3 (les reporter au point C ).
A la sortie finale de l'installation, les gaz sont envoyés vers un incinérateur.
F3. Quel est le but du traitement dans cette unité ? Comment peut-on utiliser les produits obtenus?

G I STRUCTURE DU SOUFRE

G1. Donner la configuration électronique de l'atome de soufre (numéro atomique ). Dans quelle colonne du tableau de Mendeleïev se situe-t-il ? Citer un autre élément de cette colonne.
G2. Représenter la structure de Lewis du soufre S .
G3. Représenter la structure de Lewis d'une molécule puis proposer sa géométrie.
G4. Imaginer la géométrie d'une molécule (cyclique, non plane).
Préciser la nature des liaisons permettant d'assurer la cohésion d'un tel cycle.

H / STRUCTURE DE -SiC, SUPPORT DE CATALYSEUR

La phase du carbure de silicium est le matériau de choix comme support actif lors de la conversion de l'hydrogène sulfuré. Cette phase cristallise dans le réseau cubique à faces centrées (CFC) de type blende: les atomes de silicium occupent les sommets et les centres des faces du cube, tandis le carbone se loge dans une cavité tétraédrique sur deux de ce dernier.
H1. Représenter (vue perspective ou projetée) la maille représentative de -SiC ; préciser le nombre d'atomes de chaque espèce appartenant en propre à cette maille.
H2. Quelles sont les coordinences de Si et de C dans cette structure? Quel type d'interaction assure sa cohésion ?
H3. Etablir la relation entre les rayons des atomes constitutifs et le paramètre a de la maille ; en déduire la valeur numérique de a sachant que et .
H4. Définir puis calculer la compacité de cette structure et commenter le résultat obtenu.
H5. Calculer la masse volumique de -SiC.

DONNEES NUMERIQUES

Données numériques générales :

Masses molaires atomiques (en g. ) :
Constante des gaz parfaits :
Constante d'Avogadro :

Données thermodynamiques:

Elément, composé
à 298 K (en ) -20,6 0 -296,8 -241,8 278,8 132,6 102,5
à 298 K ( ) 205,7 205,0 248,1 188,7 167,7 229,9 431,0
à 1500 K (en ) 20,5 35,3 -248,8 -201,4 307,3 171,7 290,0
à 1500 K ( ) 260,9 252,5 312,6 243,0 206,0 282,4 683,1

Etats physiques du soufre:

solide ( ) pour ; solide ( ) pour ;
liquide pour ; gaz pour .

FIN DE L'EPREUVE

Document-réponse «Optique», à compléter et à rendre avec la copie


Document-réponse «Chimie», à compléter et à rendre avec la copie


Schéma simplifié d'une unité de désulfuration CLAUS
E3A Physique Chimie MP 2012 - Version Web LaTeX | WikiPrépa | WikiPrépa